DEHNcon-H

Pour la pose de câbles nus non isolés du dispositif de capture directement sur le toit, la distance de séparation par rapport aux systèmes électriques et métalliques posés sous la surface du toit doit être respectée conformément à l’état de la technique et à la norme actuelle de protection contre la foudre DIN EN 62305-3 (VDE 0185-305-3). Sous la toiture, des installations de conduites, des systèmes de tuyaux et des pièces métalliques se trouvent souvent à proximité immédiate des dispositifs de capture/des mises à la terreet peuvent constituer un problème d’approche. La solution à de tels problèmes d’approche est d’utiliser des dispositifs de capture séparés avec des mises à la terre isolées contre les hautes tensions.

– Nouveau système pour dispositif de capture séparé des installations d’envoi/réception (antennes paraboles, terrestres) ou des bâtiments complets ou parties de bâtiments
– Version adaptée visuellement par la pose intérieure de conducteur HVI light dans un tube support, dimensions réduites des tubes supports (tube alu 40x5 mm) avec poids léger de l’ensemble de la construction, également pour le montage sur des tubes d’antennes existants
– La terminaison d’extrémité interne sort à l’extrémité inférieure du tube support avec une bande flexible en INOX pour le raccordement à la liaison équipotentielle
– Mise à la terre isolée résistante aux hautes tensions pour respecter la distance de séparation par rapport aux pièces conductrices selon DIN EN 62305-3 (VDE 0185-305-3)
– Distance de séparation équivalente s ≤ 45 cm (à l’air) ou s ≤ 90 cm (matériau solide).
– Tube support avec tige isolante en matière plastique à renfort de verre (PRV) tuyau Ø30 mm
– Facteur de matériel km = 0,7
– Couleur gris clair, résistante aux UV

Le conducteur HVI light satisfait les exigences de la norme DIN IEC/TS 62561-8 (VDE V 0185-561-8).

Détails

Détail – tube support avec montage de conducteur.
lorem ipsum

Conducteur HVI light dans le tube support

Avec terminaison placée à l'intérieur et pointe captrice INOX Ø10 mm

4 Produits

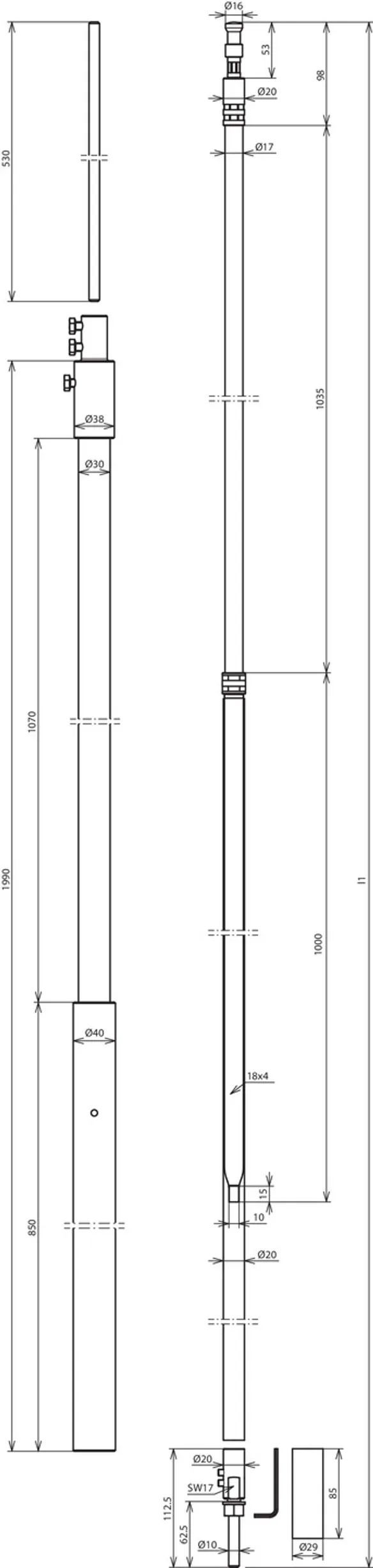
Référence de la pièce 819255 HVI LI 20 L6M SR1990 FSP500 GFK AL V2A

GTIN 4013364255371, Clients tariffs no (UE): 85389099, Poids brut: 6.84 kg, Prix unitaire: 1.00 pièce(s)

Précédent

Images

Plus d'informations

Conducteur HVI light DEHNcon-H dans le tube support 1990 mm avec pointe de capture 500 mm
Dispositif de capture séparé DEHNcon-H
par ex. pour les systèmes d’envoi/réception
(antennes paraboles, terrestres).
Version adaptée visuellement pour la pose à l’intérieur
de conducteur HVI light dans un tube support
Mise à la terre isolée résistante aux hautes tensions pour respecter
la distance de séparation par rapport aux pièces conductrices
selon DIN EN 62305-3 (VDE 0185-305-3)
Distance de séparation équivalente s ≤ 45 cm (à l’air) ou s ≤ 90 cm (matériau solide).

Les tubes supports sont dimensionnés selon Eurocode 1 (DIN EN 1991-1-4 + DIN EN 1991-1-4/NA).

Conducteur HVI light placé dans un tube support, avec
zone de terminaison spéciale placée à l’intérieur et pointe de capture Ø10 mm longueur 500 mm.
Matériau - tube support: PRV / Al
Longueur - tube support: 1990 mm
Diamètre Ø - conducteur: 20 mm
Couleur - conducteur: gris ●
Matériau - conducteur: Cu
Distance de séparation équivalente s (dans l'air) : ≤ 45 cm
Commande min. : 6 m
Vitesse du vent/rafales max.: (longueur libre max. 1890 mm, 1x HVI light intérieur) 240 km/h
Longueur libre max.: 1890 mm
Longueur de serrage min.: 600 mm
Norme: DIN IEC/TS 62561-8 (VDE V 0185-561-8)

produit : DEHN
Type: HVI LI 20 L6M SR1990 FSP500 GFK AL V2A
Référence: 819255
ou équivalent

Certificats

 

Caractéristiques techniques

Matériau - tube support PRV / Al
Longueur - tube support 1990 mm
Longueur - pointe captrice 500 mm
Matériau - conducteur Cu
Distance de séparation équivalente s (dans l'air) ≤ 45 cm
Commande min. 6 m
Vitesse du vent/rafales max. (longueur libre max. 1890 mm, 1x HVI light intérieur) 240 km/h
Longueur libre max. 1890 mm
Longueur de serrage min. 600 mm
Norme DIN IEC/TS 62561-8 (VDE V 0185-561-8)

Le produit 819255 a été ajouté au bloc-notes

Le produit 819255 a été ajouté au panier.

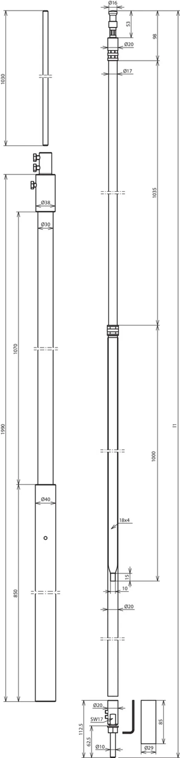
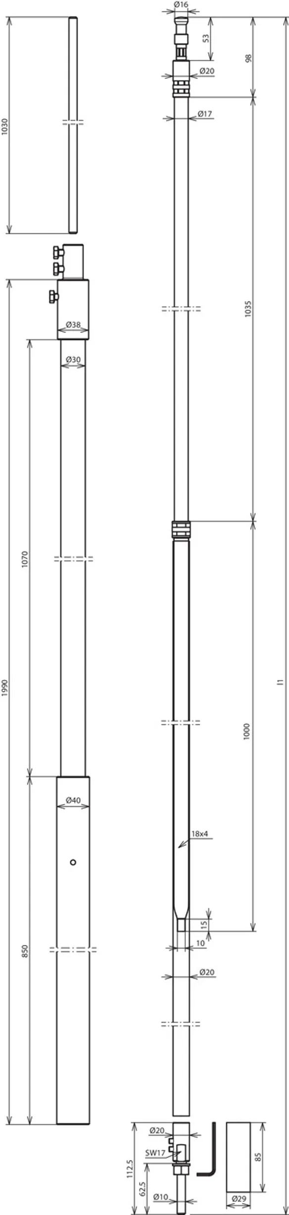
Référence de la pièce 819256 HVI LI 20 L6M SR1990 FSP1000 GFK AL V2A

GTIN 4013364255388, Clients tariffs no (UE): 85389099, Poids brut: 7.14 kg, Prix unitaire: 1.00 pièce(s)

Précédent

Images

Plus d'informations

Conducteur HVI light DEHNcon-H dans le tube support 1990 mm avec pointe de capture 1000 mm
Dispositif de capture séparé DEHNcon-H
par ex. pour les systèmes d’envoi/réception
(antennes paraboles, terrestres).
Version adaptée visuellement pour la pose à l’intérieur
de conducteur HVI light dans un tube support
Mise à la terre isolée résistante aux hautes tensions pour respecter
la distance de séparation par rapport aux pièces conductrices
selon DIN EN 62305-3 (VDE 0185-305-3)
Distance de séparation équivalente s ≤ 45 cm (à l’air) ou s ≤ 90 cm (matériau solide).

Les tubes supports sont dimensionnés selon Eurocode 1 (DIN EN 1991-1-4 + DIN EN 1991-1-4/NA).

Conducteur HVI light placé dans un tube support, avec
zone de terminaison spéciale placée à l’intérieur et pointe de capture Ø10 mm longueur 1000 mm.
Matériau - tube support: PRV / Al
Longueur - tube support: 1990 mm
Diamètre Ø - conducteur: 20 mm
Couleur - conducteur: gris ●
Matériau - conducteur: Cu
Distance de séparation équivalente s (dans l'air) : ≤ 45 cm
Commande min. : 6 m
Vitesse du vent/rafales max.: (longueur libre max. 2390 mm, 1x HVI light intérieur) 200 km/h
Longueur libre max.: 2390 mm
Longueur de serrage min.: 600 mm
Norme: DIN IEC/TS 62561-8 (VDE V 0185-561-8)

produit : DEHN
Type: HVI LI 20 L6M SR1990 FSP1000 GFK AL V2A
Référence: 819256
ou équivalent

Certificats

 

Caractéristiques techniques

Matériau - tube support PRV / Al
Longueur - tube support 1990 mm
Longueur - pointe captrice 1000 mm
Matériau - conducteur Cu
Distance de séparation équivalente s (dans l'air) ≤ 45 cm
Commande min. 6 m
Vitesse du vent/rafales max. (longueur libre max. 2390 mm, 1x HVI light intérieur) 200 km/h
Longueur libre max. 2390 mm
Longueur de serrage min. 600 mm
Norme DIN IEC/TS 62561-8 (VDE V 0185-561-8)

Le produit 819256 a été ajouté au bloc-notes

Le produit 819256 a été ajouté au panier.

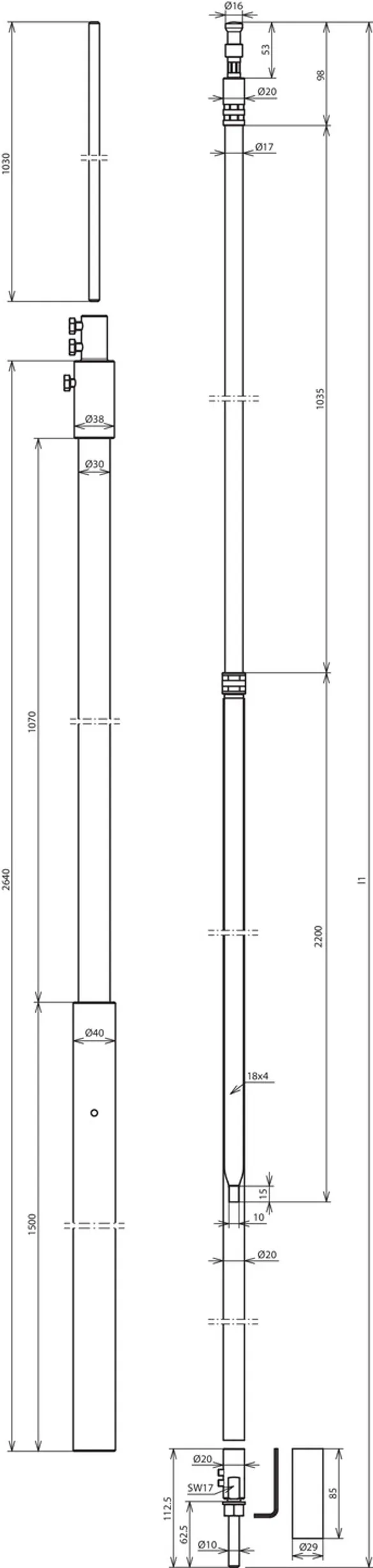
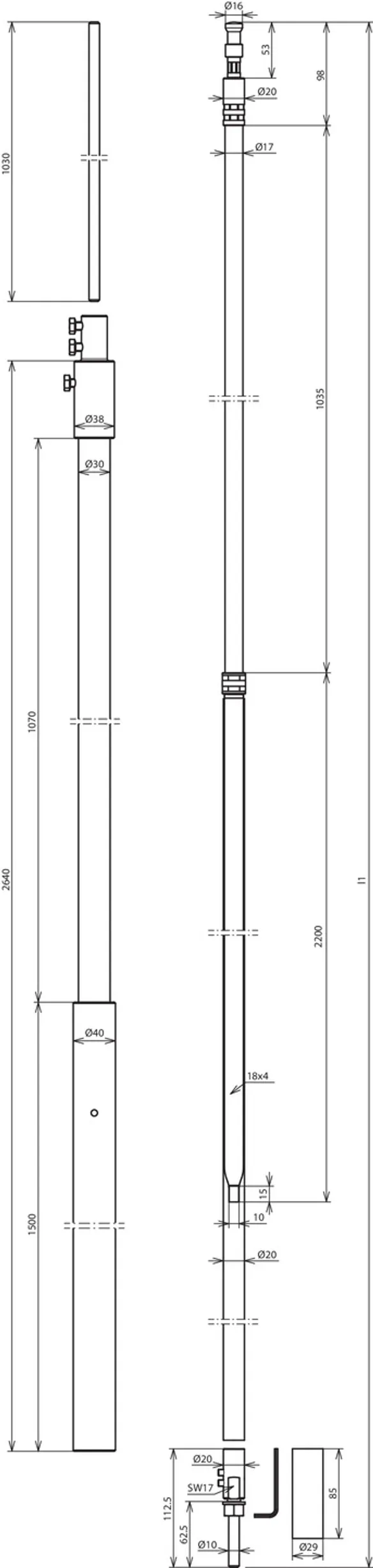
Référence de la pièce 819257 HVI LI 20 L6M SR2640 FSP500 GFK AL V2A

GTIN 4013364255395, Clients tariffs no (UE): 85389099, Poids brut: 7.79 kg, Prix unitaire: 1.00 pièce(s)

Précédent

Images

Plus d'informations

Conducteur HVI light DEHNcon-H dans le tube support 2640 mm avec pointe de capture 500 mm
Dispositif de capture séparé DEHNcon-H
par ex. pour les systèmes d’envoi/réception
(antennes paraboles, terrestres).
Version adaptée visuellement pour la pose à l’intérieur
de conducteur HVI light dans un tube support
Mise à la terre isolée résistante aux hautes tensions pour respecter
la distance de séparation par rapport aux pièces conductrices
selon DIN EN 62305-3 (VDE 0185-305-3)
Distance de séparation équivalente s ≤ 45 cm (à l’air) ou s ≤ 90 cm (matériau solide).

Les tubes supports sont dimensionnés selon Eurocode 1 (DIN EN 1991-1-4 + DIN EN 1991-1-4/NA).

Conducteur HVI light placé dans un tube support, avec
zone de terminaison spéciale placée à l’intérieur et pointe de capture Ø10 mm longueur 500 mm.
Matériau - tube support: PRV / Al
Longueur - tube support: 2640 mm
Diamètre Ø - conducteur: 20 mm
Couleur - conducteur: gris ●
Matériau - conducteur: Cu
Distance de séparation équivalente s (dans l'air) : ≤ 45 cm
Commande min. : 6 m
Vitesse du vent/rafales max.: (longueur libre max. 2540 mm, 1x HVI light intérieur) 240 km/h
Longueur libre max.: 2540 mm
Longueur de serrage min.: 600 mm
Norme: DIN IEC/TS 62561-8 (VDE V 0185-561-8)

produit : DEHN
Type: HVI LI 20 L6M SR2640 FSP500 GFK AL V2A
Référence: 819257
ou équivalent

Certificats

 

Caractéristiques techniques

Matériau - tube support PRV / Al
Longueur - tube support 2640 mm
Longueur - pointe captrice 500 mm
Matériau - conducteur Cu
Distance de séparation équivalente s (dans l'air) ≤ 45 cm
Commande min. 6 m
Vitesse du vent/rafales max. (longueur libre max. 2540 mm, 1x HVI light intérieur) 240 km/h
Longueur libre max. 2540 mm
Longueur de serrage min. 600 mm
Norme DIN IEC/TS 62561-8 (VDE V 0185-561-8)

Le produit 819257 a été ajouté au bloc-notes

Le produit 819257 a été ajouté au panier.

Référence de la pièce 819258 HVI LI 20 L6M SR2640 FSP1000 GFK AL V2A

GTIN 4013364255418, Clients tariffs no (UE): 85389099, Poids brut: 8.09 kg, Prix unitaire: 1.00 pièce(s)

Précédent

Images

Plus d'informations

Conducteur HVI light DEHNcon-H dans le tube support 2640 mm avec pointe de capture 1000 mm
Dispositif de capture séparé DEHNcon-H
par ex. pour les systèmes d’envoi/réception
(antennes paraboles, terrestres).
Version adaptée visuellement pour la pose à l’intérieur
de conducteur HVI light dans un tube support
Mise à la terre isolée résistante aux hautes tensions pour respecter
la distance de séparation par rapport aux pièces conductrices
selon DIN EN 62305-3 (VDE 0185-305-3)
Distance de séparation équivalente s ≤ 45 cm (à l’air) ou s ≤ 90 cm (matériau solide).

Les tubes supports sont dimensionnés selon Eurocode 1 (DIN EN 1991-1-4 + DIN EN 1991-1-4/NA).

Conducteur HVI light placé dans un tube support, avec
zone de terminaison spéciale placée à l’intérieur et pointe de capture Ø10 mm longueur 1000 mm.
Matériau - tube support: PRV / Al
Longueur - tube support: 2640 mm
Diamètre Ø - conducteur: 20 mm
Couleur - conducteur: gris ●
Matériau - conducteur: Cu
Distance de séparation équivalente s (dans l'air) : ≤ 45 cm
Commande min. : 6 m
Vitesse du vent/rafales max.: (longueur libre max. 3040 mm, 1x HVI light intérieur) 201 km/h
Longueur libre max.: 3040 mm
Longueur de serrage min.: 600 mm
Norme: DIN IEC/TS 62561-8 (VDE V 0185-561-8)

produit : DEHN
Type: HVI LI 20 L6M SR2640 FSP1000 GFK AL V2A
Référence: 819258
ou équivalent

Certificats

 

Caractéristiques techniques

Matériau - tube support PRV / Al
Longueur - tube support 2640 mm
Longueur - pointe captrice 1000 mm
Matériau - conducteur Cu
Distance de séparation équivalente s (dans l'air) ≤ 45 cm
Commande min. 6 m
Vitesse du vent/rafales max. (longueur libre max. 3040 mm, 1x HVI light intérieur) 201 km/h
Longueur libre max. 3040 mm
Longueur de serrage min. 600 mm
Norme DIN IEC/TS 62561-8 (VDE V 0185-561-8)

Le produit 819258 a été ajouté au bloc-notes

Le produit 819258 a été ajouté au panier.


back to top